Tanks Interior URSS-Russie Blindés le PT 76

Article écrit par : Claude Balmefrezol

Mis en ligne le 26/05/2023 à 19:22:59



Le PT 76

 

Photoscopes Voir ICI
PT 76 Intérieur Details
PT 76 Divers
PT76 B
PT76B Moscou

 

L'Union soviétique conçoit des véhicules chenillés amphibies depuis le début des années 1920, et un certain nombre d'entre eux ont été  produits en  série.
 Le PT-76 (Plavaushiy Tank- Swimming Tank) a été conçu par le bureau d'études des chars lourds de l'usine de Dirov à Leningrad (également responsable de la série de chars IS).
Il était vaguement basé sur le véhicule Tout Terrain Penguin et les premiers chars PT-76 de production sont sortis des chaînes de montage à partir de 1953.

 
Le PT-76 est un char léger amphibie, entré en service pour la première fois dans l'Armée rouge et l'infanterie navale soviétique en 1952 et produit en série jusqu'en 1967, date à laquelle il a été remplacé par le véhicule de combat d'infanterie BMP-1, beaucoup plus moderne et mieux adapté


Le PT-76 fut le premier char léger au monde à être conçu comme amphibie, avec une coque très grande et presque vide pour assurer une flottabilité le tout couplé à un système de propulsion par d’hydrojet innovant. 
Initialement destiné à assurer des patrouilles avancées au service des BC(bataillons de chars) de l'Armée rouge, il a intéressé dans sa phase de développement et l'a ensuite adopté pour son infanterie navale en tant que véhicule d'assaut sur les plages


Bien que ce char amphibie soit  retiré du service militaire dans certains pays  des formes modernisées du PT-76 continuent a servir dans les bataillons de chars d'infanterie navale  quoique dans une capacité très limitée. Ils sont actuellement remplacés par le BMP-3F, mais le remplacement avance à un rythme très lent.


Lorsqu'il est utilisé pour la reconnaissance, le PT-76 se déplace en reconnaissance devant la force principale -qui est un RFM ou une division d'infanterie motorisée  afin d’effectuer des missions de reconnaissance avancée,
En cas de rencontre avec  un ennemi son canon serait utilisé en tant que char moyen En raison de l'abondance de lacs, des coupures humides et de marécages en  Europe orientale et centrale, le PT-76 serait, en théorie,à son aise aurait pu en de nombreuses occasions d'exploiter ses qualités amphibies alors que la force principale se préparait encore à franchir ce type d'obstacles.
Le PT-76B a été officiellement adopté le 10 janvier 1958, mais la production de masse n'a commencé qu'en 1959 et s'est poursuivie jusqu'en 1967.
 La production du modèle original a commencé en 1952 et s'est terminée dans la première moitié de 1959, sept ans plus tard avec 1896  PT-76 fabriqués. La production du modèle PT-76B a commencé en 1959 et s'est terminée en 1967,avec 1143chars produits.
Depuis cet engin a été vendu et exporté dans de nombreux pays en raison de sa simplicité et de son faible coût
Il a combattu au Moyen-Orient, en Afrique, en Extrême-Orient et, plus récemment, avec l'Irak lors de la guerre du Golfe.

Description
Le poste de chaf de Char
Le chef de char est placé dans la tourelle à côté du chargeur. Dans cette tourelle en forme de cône tronqué Il peut y enter  par la grande trappe rectangulaire qui se trouve sur le toit de la tourelle, mais il a sa propre  trappe qui  lui permet de surveiller le champ de bataille depuis l'extérieur de la tourelle sans avoir besoin d'ouvrir la grande trappe principale,

En effet  cela augmente non seulement considérablement la taille de la silhouette du char, rendant  le char plus visible pour un observateur ennemi à longue distance.
La trappe n'a que 6 mm d'épaisseur, mais elle est suffisante pour protéger le commandant des tirs de snipers tirant à plusieurs centaines de mètres. Idéalement, le commandant exposerait le moins possible sa tête tout en regardant à travers ses jumelles par-dessus le bout de l'écoutille. Étant donné que la trappe fait partie de la coupole rotative, elle peut également être tournée pour protéger le commandant de la direction qu'il choisit.
La taille de l'écoutille principale rend l 'évacuation du char en cas de nécessité  mais son poids relativement lourd rend son ouverture difficile surtout si les deux membres d'équipage dans le tourelle sont blessés. 
La grandeur de la trappe rend l évacuation du char possible  avec un équipage en portant l'appareil respiratoire d'urgence standard,

Il faut savoir que le poids de la trappe du T-34 M1940, était plus important bien que plus petite Elle mesurait 20 mm d'épaisseur. Le volume total du compartiment de combat est important  La disposition de base pour l’équipage du blindé est classique comprend  au centre un conducteur  Derrière se trouve la tourelle avec son équipage de tourelle composé de trois personnes
Au début il n’y avait que  2 hommes en tourelle avec le commandant / tireur à gauche du canon et le chargeur à droite
Avec un équipage de 3 hommes on trouve  à gauche le commandant directement derrière le tireur. Et le chargeur à droite
Sur cette photo on voit la zone avant de la tourelle. Le viseur du mitrailleur est à gauche et le canon principal de 76,2 mm est au centre de la photo.
Au-dessus on voit la trappe supérieure qui est une grande plaque ovale, articulée à l'avant,. Elle est la seule trappe de la tourelle. L'élévation de l'arme principale est de +30 à -4 degrés et la tourelle est mue électriquement avec des volants mécaniques de secours.
 

L'anneau de tourelle de la tourelle PT-76 a un diamètre de 1 800 mm. Considérant que le blindage de la tourelle est très fin et que le char n'est équipé que d'un canon moyenne pression de 76 mm, les deux hommes dans la tourelle sont plutôt bien logés. À titre de comparaison, le T-34-85 avait un anneau de tourelle de 1 600 mm et pouvait accueillir trois hommes avec un canon de 85 mm tandis que le T-54 avait un anneau de tourelle de 1 825 mm et trois hommes assis avec un canon de 100 mm. Le PT-76 surpasse ces deux chars moyens à cet égard et est également plus spacieux que le M4 Sherman qui avait un anneau de tourelle de 1 750 mm et pouvait accueillir trois hommes avec un canon à pression moyenne de 75 mm. Dans une comparaison entre le PT-76 et son homologue américain direct le M41 Walker Bulldog, le PT-76 perd ostensiblement car ce dernier avait un diamètre d'anneau de tourelle légèrement plus grand de 1 850 mm,

En plus de tirer et de commander le char, le commandant est également responsable de l'unique poste radio à ondes courtes 10RT-26E  placé sur le côté gauche de la tourelle. La radio est conçue pour fonctionner dans la gamme de fréquences 3,75-6,00 MHz. Les 10RT-26 et 10RT-26E étaient les systèmes radio standard pour les véhicules blindés soviétiques construits à la fin des années 40, mais au début des années 50, la série a été rendue obsolète par un nouveau décret gouvernemental attribuant la gamme de fréquences 20,0-22,4 MHz à l' utilisation exclusive des chars. L'antenne fouet pour la radio est installée sur le coté de la tourelle, Cette vue de l'intérieur droit de la tourelle montre  l'entré de l anterre à gauche du volant d'inertie de la tourelle.
 
Lorsque le char est en mouvement, l'antenne fouet est rétractée à la longueur minimale de 1 mètre et la radio a une portée comprise entre 7 et 15 km, mais lorsque le char est à l'arrêt et que l'antenne fouet est déployée sur toute sa longueur de 4 mètres, la radio a une portée comprise entre 9 et 20 km.
 La production de la série de radios 10RT a complètement cessé en 1956, et en 1957, un programme de modernisation a été réalisé pour remplacer le 10RT-26E par le plus récent poste radio R-113 "Granat" .avec son système d'alimentation Le programme s'est déroulé en parallèle avec des programmes similaires pour des chars comme le T-54 et le T-10 pour normaliser le poste  R-113 dans tous  les véhicules de combat blindés de l'Armée rouge. Le R-113 appartenait à la première génération de radios de chars soviétiques conçues dans l'après-guerre. Il fonctionne dans la gamme de fréquences 20-22,375 MHz et a une portée maximale de 20 km avec l'antenne fouet déployée, réduite à 8-12 km en présence de bruit et 10 km en présence de brouillage.
En 1967, le dernier lot de chars PT-76B a été produit avec de nouvelles radios R-123 "Magnoliya  , et un programme de modernisation a été lancé pour équiper les anciens PT-76 du nouveau système radio lors des révisions programmées.

Pour gagner de la place, la radio et le bloc d'alimentation qui l'accompagne ne sont pas installés directement sur la paroi de la tourelle, mais suspendus entre des supports sous l'anneau de la tourelle, comme illustré dans le dessin ci-dessus.Les autres equipements radio sont alors les boîtiers de relais d'interphone, le boîtier d'accord d'antenne, l'indicateur d'azimut de la tourelle et le mécanisme de rotation de la tourelle. 
Le support de montage pour le R-113 et le bloc d'alimentation BP-2A qui l'accompagne  sont illustrés sur la première photo ci-dessous. La deuxième photo montre une radio R-123M et son bloc d'alimentation BP-26 qui l'accompagne. En raison de divers programmes de modernisation au fil des années depuis l'introduction du PT-76, il est extrêmement difficile de trouver un exemplaire équipé de la radio 10RT-26E et de son bloc d'alimentation propriétaire, mais il aurait été monté de la même manière que les derniers R-113 et R-123 .
R-113
Le boîtier de couleur argentée est le boîtier d'accord de fréquence pour l'antenne
 
Le commandant dispose de deux périscopes de vision générale TNP-B et d'un périscope binoculaire TPKU-2B installés dans sa coupole pour couvrir un arc avant de 120 degrés. Contrairement à une coupole de style T-34-85 ou T-54 avec une trappe en demi-lune et des périscopes dans un toit fixe, la coupole du PT-76 a tous ses périscopes installés dans la trappe monobloc. La coupole est rotative, lui donnant ainsi une vue complète à 360 degrés de son environnement. Il n'y a pas de poignées que le commandant peut saisir lorsqu'il tourne la coupole, il doit donc tenir l'un des périscopes pour le faire.
L'illustration ci-dessus montre les zones mortes et  les arcs de visualisation depuis les périscopes . En regardant vers l'avant du char, les périscopes du commandant ont une zone morte de 6 à 8 mètres, et en regardant vers la gauche, la zone morte est de 7 à 8 mètres. Vers le coin arrière droit de la coque, la zone morte passe à 11 mètres.
Mais ill faut souligner que le PT-76 a été conçu avant tout comme un char amphibie. Son rôle en tant que véhicule de reconnaissance pour les forces terrestres étaient généralement utilisés pour la reconnaissance en règle générale selon la doctrine traditionnelle de l'Armée rouge des années 1930. Et le chars amphibies légers déployés par l'Armée rouge à l'époque étaient le T-37 et ses dérivés qui étaient très petits, très légers, et armés uniquement pour l'autodéfense avec un équipage de seulement deux hommes. Le PT-76 est non seulement plus grand que le T-54 ,
T 37
PT 76
En termes de visibilité globale et de commodités d'observation sous blindage, le PT-76 est très mal loti face à la majorité des véhicules blindés de l'arsenal de l'Armée rouge. En effet le T-10 et le T-10A avaient presque deux fois plus de dispositifs d'observation que le PT-76, et le char T-54 avait trois ou quatre dispositifs d'observation supplémentaires,.
 Avoir une combinaison de deux périscopes à vision générale et d'un périscope binoculaire ne met le commandant PT-76 qu'à égalité avec un commandant T-44 ou un commandant d'un premier modèle T-54 en termes de visibilité, alors que les modèles T-54 à partir de 1951 avait deux périscopes supplémentaires intégrés dans la trappe du commandant pour fournir une vision dans un arc frontal beaucoup plus large de 200 degrés.
A ces moyens il convient de rajouter le Viseur car  le commandant du PT-76 est également responsable du maniement de celui ci  et cela lui accorde un dispositif d'observation supplémentaire, mais il lui manque toujours le périscope rotatif MK.4 qui était présent dans les modèles T-54 antérieurs pour le tireur (avant qu'il ne soit remplacé par un viseur de vision nocturne),
Mais le commandnat doit trop faire car en plus il  doit agir également en tant que mitrailleur du PT-76
Dans l'ensemble, les capacités de vision du PT-76 sont non seulement assez médiocres, mais également inférieures à celles de ses homologues tant soviétiques qu'Occidentales
A titre de comparaison  la coupole du commandant du M41 Walker Bulldog américain bat facilement la coupole du PT-76 sans parler du fait que le M41 a une tourelle pour trois hommes et embarque une grande quantité d'équipements radio. En effet, le M41 a été conçu dès le départ pour être un véhicule de reconnaissance.
Contrairement au BMP-1 qui l'a remplacé, un modèle de reconnaissance spécialisé du PT-76 n'a jamais été développé. Les chars utilisés dans le rôle de reconnaissance n'étaient pas équipés de dispositifs de surveillance spéciaux, de sorte que les équipages devaient compter exclusivement sur l'équipement de base fourni avec le char. Inutile de dire que le PT-76 n'était tout simplement pas idéal pour ce rôle particulier. Le BRDM-1 était bien plus adapté à la reconnaissance.
 
TPKU-2


Nous avons si dessus un dessin du périscope binoculaire TPKU-2  monté sur le PT-76B ainsi que sur les variantes ultérieures du PT-76. La variante TPKU-2B a été utilisée dans le T-54B ainsi que dans d'autres véhicules blindés soviétiques. Cette variante différait en ce qu'elle avait deux guidons de chaque côté auxquels le commandant pouvait s'accrocher, tandis que le TPKU-2 de base installé dans le PT-76 n'avait aucun guidon
Le périscope TPKU-2 était largement utilisé dans d'autres véhicules légers comme le BRDM-1, le BTR-60, le BTR-70 et bien d'autres, sans oublier le BTR-50 dérivé du PT-76. Ce périscope simplifié n'a pas la fonction de désignation de cible présente dans la version montée sur réservoir, mais est par ailleurs fonctionnellement identique. Le TPKU-2B a un grossissement réglable avec la possibilité de choisir entre des grossissements 1x ou 5x. Sous un grossissement de 1x, le champ de vision de la vue est de 17,5 degrés. Ceci est réduit à 7,5 degrés sous un grossissement de 5x. La disposition générale du viseur et du réticule est la même que dans tous les autres périscopes de chars binoculaires soviétiques de l'époque, y compris la présence d'un repère de télémètre stadiamétrique. Cela suffit au commandant pour rechercher des cibles à courte ou moyenne distance,
 
 TPKU-2B avec deux guidons tel qu'utilisé dans la version char,
Viseur du Canon
TShK-66, TShK-66P, TShK-2-66

TShK-66 est une lunette de visée articulée utilisée dans le PT-76, et le TShK-66P est une variante légèrement modifiée utilisée dans le PT-76 obr. 1957. Le viseur TShK-2-66 est une autre modification du TShK-66, utilisé pour la première fois dans le PT-76B obr. 1959. Il diffère des variantes précédentes en ce qu'il est conçu pour être stabilisé via des liaisons mécaniques au canon. En couplant le viseur au canon stabilisé, le viseur est stabilisé verticalement de la même manière que le mécanisme d'élévation du canon.
 

Avec sa lunette articulée, installée coaxialement avec le tourillon du berceau de montage du canon fait lort des mouvement en site du canon  la lunette sut le même mouvement mais l'oculaire du viseur reste fixe . Cela signifie que le tireur n'a pas à se déplacer pour garder son œil appuyé sur l'oculaire lorsqu'il élève ou abaisse le canon pour quelque raison que ce soit. L'oculaire est fixé avec une légère inclinaison vers le bas pour un meilleur confort. Lors de l'utilisation du viseur, la tête du tireur sera légèrement abaissée et partiellement soutenue par le coussinet frontal, de sorte que la tension sur son cou est réduite.
Le viseur TShK-66 appartient à la même classification que la série TSh (par exemple TSh-15, TSh-16, TSh-17) de viseurs télescopiques articulés conçus et mis en service pendant la Seconde Guerre mondiale. Bien que le viseur TShK-66 ait été développé à peu près au même moment que les viseurs télescopiques du T-54 et de la série de chars lourds IS d'après-guerre, le TShK-66 ne dispose pas d'un grossissement variable.
 À cet égard, il est identique à la série TSh de viseurs télescopiques à tube articulé du modèle 1943 avec un grossissement fixe de 4x et un champ de vision de 16 degrés, mais avec le «K» supplémentaire à la fin pour désigner le tube télescopique raccourci de le viseur par rapport aux viseurs de réservoir normaux. Le TShK-66 manque également de marquages ​​de télémètre stadiamétrique, le plaçant ainsi fermement dans la même classification que le viseur TSh-20 pour le T-54 obr.1947, et un pas en dessous du TSh2-22 pour le T-54 obr.1951. Une fois de plus, cela renforce le fait que le PT-76 était non seulement objectivement déficient en moyens d'observation, mais également déficient par rapport à ses pairs de la même année d'introduction. Pour effectuer une télémétrie, le commandant est obligé d'utiliser son périscope TPKU-2B. Ce serait bien pour le premier tir, car il est plus pratique de rechercher des cibles à travers l'optique binoculaire à grossissement variable du TPKU-2B, mais cela devient un handicap lorsqu'une deuxième cible doit être engagée, car le commandant doit changer du viseur au TPKU-2B et réacquérir la cible pour estimer la portée avant de revenir au viseur pour ouvrir le feu dessus. Puisqu'on ne peut pas s'attendre à ce que le périscope soit aligné avec le viseur (car cela irait à l'encontre de l'objectif de placer le TPKU-2B dans une coupole rotative indépendante), cela oblige le commandant à se déplacer entre le périscope et le viseur plusieurs fois et ainsi perdre la vue. contact avec la cible plusieurs fois afin de déterminer la distance à celle-ci. Ceci est totalement impraticable pour une cible mobile et prend beaucoup de temps même pour une cible statique. Par conséquent, la seule option raisonnable serait d'estimer la portée en utilisant les marques mil et de tirer un coup de distance vers la cible et de compter sur les mains rapides du chargeur pour en tirer un deuxième. Ceci est totalement impraticable pour une cible mobile et prend beaucoup de temps même pour une cible statique. Par conséquent, la seule option raisonnable serait d'estimer la portée en utilisant les marques mil et de tirer un coup de distance vers la cible et de compter sur les mains rapides du chargeur pour en tirer un deuxième. Ceci est totalement impraticable pour une cible mobile et prend beaucoup de temps même pour une cible statique. Par conséquent, la seule option raisonnable serait d'estimer la portée en utilisant les marques mil et de tirer un coup de distance vers la cible et de compter sur les mains rapides du chargeur pour en tirer un deuxième.
Tourelle Le Poste du Chargeur
Initiallement  la tourelle n'avait que 2 hommes mais par la suite un 3e homme fit son apparition le Chargeur
Le chargeur est situé sur le côté droit de la tourelle. Il est responsable du chargement du canon et de la mitrailleuse coaxiale, mais il est également chargé de surveiller le champ de bataille
Pour ce faire, il dispose d'un seul périscope MK-4S installé dans un support d'anneau de course rotatif directement devant lui. Être limité à un seul périscope - bien que rotatif - limite considérablement le champ de vision  du chargeur
Le système de rotation permet au chargeur via le périscope de regarder vers l'avant et vers la droite, et le viseur réversible du MK-4S lui permet de regarder vers la gauche et vers l'arrière, ce qui serait autrement impossible car avec une optique normale sa vue serait obsturée par le flanc de la tourelle
Pour  ce char en termes d'espace de travail et de confort général, en toureelle l'équipage est bien loti   car le diamètre de l'anneau de tourelle de la tourelle PT-76 est de 1 800 mm, ce qui est assez grand pour un char peu blindé avec un canon moyenne pression de 76 mm. Outre l'habitabilité générale du char, le chargeur est pourvu d'un grand nombre de crochets métalliques sur la coque surtout coté droit  sur lesquelles il peut attacher ses effets personnels. Les crochets sont visibles en arrière-plan de la photo à gauche ci-dessous, sous le dossier magenta foncé du siège du chargeur.
 
 
 
Le dossier du chargeur est positionné de telle manière qu'il doit s'asseoir face au canon ce qui peut être pratique pour les chargeurs qui choisissent d'accomplir leurs tâches assis. Comme le montre la photo ci-dessus, le siège du chargeur est suspendu à l'anneau de la tourelle. Il peut être replié et dégagé afin que le chargeur ne soit pas gêné s'il choisit d'effectuer ses tâches debout.
Il y a un plafonnier du côté chargeur de la tourelle, installé à côté du périscope MK-4S. L'emplacement du plafonnier permet au chargeur de recharger ou d'entretenir la mitrailleuse coaxiale dans l'obscurité.
L'espace de la tourelle combiné à la petite taille et à la maniabilité des obus de 76,2 mm rendent la tâche de chargement du canon D-56T extrêmement simple. Le chargement ne doit excéder plus de quatre secondes,  Toutes les munitions de 76,2 mm sont rangées à l'intérieur du panier de la tourelle. Il y a quatorze obus dans un rack prêt directement derrière le chargeur, disposées de manière à ce que sept obus soient rangées horizontalement dans une double pile. Deux autres obus sont fixées à la paroi de la tourelle directement au-dessus de ce rack prêt. Les munitions de réserve sont rangées dans deux conteneurs sur le plancher de la tourelle rotative directement sous l'assemblage du canon, chacun contenant seize obus et nous arrivons donc à un total de quarante obus ce qui est peu, surtout compte tenu du grand volume interne du réservoir et de la petite taille du canon de 76 mm.
 
 
Le chargement du canon assez. L'emplacement du ratelier ou rack  prêt et des cartouches fixées à la paroi de la tourelle permet au chargeur d'extraire un obud de tourner un peu vers la droite et de charger le canon en un seul mouvement  Cela peut être fait debout ou assis, et en effet, la hauteur et l'orientation du siège du chargeur par rapport aux racks prêts rendraient assez facile pour le chargeur de le faire en position assise, comme vous pouvez le voir sur la photo ci-dessous
 
 


Les racks de réserve sont placés sur le plancher de la tourelle rotative, mais il est décalé de sorte que l'un des conteneurs sortehors du périmètre du plancher pour augmenter l'espace au sol disponible du chargeur. Ces racks ne sont pas aussi pratiques à utiliser qu'ils pourraient l'être, car l'inclinaison des racks vers la gauche (voir schéma ci-dessous) empêche le chargeur d'extraire une cartouche et de la charger dans le canon en un seul mouvement rapide. En effet, le chargeur est naturellement enclin à extraire les cartouches de ces râteliers à l'aide de sa main droite, alors que c'est sa main gauche qui est utilisée pour enfoncer les cartouches dans la chambre du canon. Ainsi, pour charger, il doit déplacer sa prise sur la base de la coque de sa main droite vers sa main gauche. Le résultat final est une légère augmentation du temps nécessaire au chargement.
 
 

Néanmoins, il apparaît que les containers de réserve sont correctement postionné d'un point de vue ergonomique. Placer les crémaillères sous le canon garantit que le tireur et le chargeur disposent du maximum d'espace pour les jambes vers l'avant dans leurs stations respectives, ce qui nécessite l'inclinaison des crémaillères afin que le chargeur puisse y accéder sans avoir à s'accroupir sous le canon, ce qui peut être impossible ou dangereux si le canon est élevé. De plus, on peut affirmer qu'un taux de chargement élevé à partir de ces racks n'est pas nécessaire, car ce sont les racks de réserve et seraient le plus souvent utilisés pour réapprovisionner les racks prêts.

Selon le manuel, la cadence de tir maximale visée est de sept coups par minute, ce qui se traduit par un temps moyen de rechargement de 8,57 secondes entre chaque tir, mais en fit nous arrivons à une cadence de quinze coups par minute au grand maximulIl faut dire que le tireur passe beaucoup de temps  pour viser  A titre de comparaison pour une T 54 on arrive à sept coups par minute. 
Le fait d'être répertorié comme la cadence de tir "visée" indique que le commandant doit d'abord trouver la cible, estimer la distance et ajuster ses vues avant d'ouvrir le feu, et le chargeur suit la procédure formelle d'observation de la chute du tir depuis son unique périscope avant de recharger le canon pour le prochain coup. Puisque le PT-76 a le même système de conduite de tir que le T-54, il est logique que la cadence de tir visée du PT-76 soit la même que celle du T-54, car le temps nécessaire pour charger l'un de leurs canons est inférieur au temps nécessaire pour viser malgré la grande différence de calibre. La cadence de tir maximale est simplement la cadence de tir qui peut être atteinte sans viser ou sans faire de corrections pendant que le chargeur se charge aussi vite qu'il le peut. La cadence de tir maximale serait vraie pour des tirs répétés sur une seule cible ou pour une courte et intense rafale de tir d'artillerie, alors que la cadence de tir visée serait vraie si le char engageait plusieurs cibles l'une après l'autre. Dans un scénario réaliste où un peloton de chars PT-76 est utilisé pour soutenir une compagnie d'infanterie navale motorisée contre des défenses fixes, la cadence de tir réelle du char serait très probablement de sept coups par minute ou moins,
La mise en œuvre d'un système de stabilisation dans le PT-76B a vraisemblablement entraîné une augmentation de la cadence de tir visée, car le commandant aurait besoin de moins de temps pour poser le canon sur la cible. La même chose s'appliquerait pour le tir en mouvement, car le char n'aurait plus besoin de s'arrêter avant chaque tir car il pourrait tirer avec précision tout en naviguant lentement.
Le Canon D-56T

 

 
 
Le PT-76 est équipé du canon rayé D-56T. qui était une arme nouvelle développée en 1949 par le bureau d'études del usine 9 où
il a reçu la désignation LB-62T à ne pas confondre avec le LB-76T conçu par l'usine n°92 et installé dans le Objekt 101.

l a ensuite été renommé D-56T lorsque le prototype Object 740 est officiellement entré en service sous le nom de PT-76. Le canon est chambré pour la cartouche de 76,2 x 385 mm utilisée dans le canon divisionnaire remorqué ZiS-3 et le canon de char F-34 obr.1940, et a été conçu avec des caractéristiques balistiques identiques. A cet effet, le canon mesure 42 calibres (3200mm) de longueur, identiques aux ZiS-3 et F-34. La différence vient  d'une marche conique caractéristique au tiers du tube.
Contrairement à de nombreux autres canons de chars conçus à la fin des années 40, le D-56T possède un mécanisme de recul qui rappelle des canons plus modernes comme le 115 mm U-5TS ou le 125 mm D-81. Au lieu d'avoir le tampon de recul hydropneumatique et le récupérateur hydraulique montés sur le dessus de la chambre et à l'avant du bloc de culasse comme sur les D-10T et D-25 T
, le tampon de recul est monté dans une fente dans le coin inférieur droit du bloc de culasse et le récupérateur est monté dans une fente dans le coin inférieur gauche. 
Cela libère un espace précieux sur la partie supérieure du canon et permet l'installation du canon dans une tourelle à profil bas, et contribue également à réduire quelque peu la quantité de pénétration intérieure (la longueur du canon s'étendant dans la tourelle). Outre sa configuration atypique, le mécanisme de recul est également conçu avec une longue course de recul pour aider à réduire l'impulsion de recul à un niveau gérable. La longueur maximale de la course de recul est de 550 mm et la longueur normale de la course de recul est de 470 mm à 545 mm, selon la munition tirée. Le dessin ci-dessous représente le canon D-56TM sans son berceau de montage et sans les tampons de recul.
Photo NB sant les ressorts récuperateurs Photo Couleur avec les deux ressortstsous le bloc de culasse du D-56T.
Il y avait des canons avec de meilleures performances antichars, comme le canon Ch-51 de 57 mm, et le nouveau canon automatique S-60 de 57 mm offrait peut-être une grande puissance de feu contre des cibles dures et molles, mais les exigences officielles stipulaient qu'un canon de 76 mm devait être installé dans le futur nouveau char léger amphibie de l'Armée rouge.
Il peut semblaitque le fait de ne pas installer le S-60 sur le PT-76 était une erreur, étant donné que cette classe d'armes était  montée sur les véhicules de combat légers et qu'unr solution  de mise à niveau aiet été proposé pour le PT-76. Mais cela aurait impliquer de changer la tourelle par un nouveau modèle zvec uncanon automatique de 57 mm basé sur le S-60, mais cela ne s'est pas fait 
Le PT-76 devait fournir un appui-feu aux troupes lors des débarquements amphibies, le plus souvent pour supprimer et éliminer les défenses fixes sur le rivage comme les nids de mitrailleuses et de fusils sans recul tout en ayant une puissance de feu suffisante pour faire face à la majorité des cibles blindées, et dans l'immédiat. Après-guerre, la majorité des cibles blindées que le PT-76 devait rencontrer seraient des chars légers avec un petit nombre de chars moyens tous issus de la Seconde Guerre mondiale. 
Le PT-76 ne ferait pas face aux chars moyens modernes de l'ennemi à moins qu'une sorte d'erreur tactique ne soit commise. 
Un canon de 57 mm à haute vitesse ni un canon de 76 mm à vitesse moyenne ne pourraient faire grand-chose contre un char moyen utilisant des obus perforants conventionnels, par contre un canon de 76 mm a la possibilité d'utiliser des munitions HEAT, il est donc capable de faire face à des chars beaucoup plus lourds. Et contre les fortifications et les bâtiments de campagne, l'effet explosif et de fragmentation élevé d'un obus HE-Frag de 76 mm le rend également plus utile que les obus HE-Frag de 57 mm, même si un canon automatique de 57 mm est capable de tirer plus de obus sur la cible. . L'autre inconvénient est d'avoir des canons de petit calibre à grande vitesse est le faible contenu explosif de ses obus explosifs
Outre les défenses fixes, le PT-76 devait faire face au transport mécanisé pour l'infanterie, qui prenait le plus souvent la forme de camions non blindés ou de semi-chenilles légèrement blindés dans l'immédiat après-guerre, et plus tard, de véhicules blindés de transport de troupes. Un canon automatique à tir rapide est idéal contre ce type de menace, mais un canon de char à vitesse moyenne est également efficace, et bien sûr, l'infanterie débarquée pouvait être efficacement supprimée ou éliminée uniquement avec la mitrailleuse coaxiale complémentaire de 7,62 mm. Dans ce contexte, un canon de gros calibre à pression moyenne comme le D-56T associé à une mitrailleuse de 7,62 mm semble être un choix raisonnable.
Cependant, l'obuse 76,2x385 mm  n'est pas excellent. Les canons chambrés pour ce projectile étaient généralement considérés comme obsolètes dans l'Armée rouge, qui s'appuyait de plus en plus sur des canons de plus en plus gros, qu'ils soient remorqués, automoteurs ou montés sur char. Par exemple, le canon divisionnaire ZiS-3 chambré pour la même cartouche a été déclaré obsolète et immédiatement remplacé par le 85 mm D-44 après la fin de la Seconde Guerre mondiale, et le 85 mm ZiS-S-53 du T-34-85 a été remplacé par le D-10T dans son successeur, le T-54. 
Cette tendance n'a pas été ignorée lors de la conceptualisation du nouveau char léger amphibie de l'Armée rouge en 1947. À l'origine, le plan était de créer un char de 20 tonnes armé d'un canon de 85 mm et avec les mêmes caractéristiques de mobilité qu'un char moyen. Il était prévu d'avoir un moteur de 400 ch et de nager avec l'utilisation de flotteurs en aluminium remplis de mousse, mais le moteur n'était pas encore prêt à l'époque, et on s'est rendu compte que le recours à des flotteurs non blindés vulnérables n'était pas viable pour une lumière amphibie. réservoir, il n'y avait donc pas d'autre choix que de créer un réservoir qui pouvait flotter avec la flottabilité de sa propre coque. Le poids du nouveau concept de char a dû être réduit à 15 tonnes, et à cause de cela, les plans pour un canon de 85 mm ont dû être abandonnés pour un canon de 76 mm.
La modification du D-56TS comportait un nouveau piston d'entraînement d'élévation hydraulique mais aussi un simple mécanisme d'élévation manuel à pignon et crémaillère, et a également ajouté des supports sous le berceau du pistolet pour accueillir la pompe hydraulique pour l'entraînement d'élévation. Cela a augmenté le poids du canon à l'extrémité de la culasse, de sorte que l'épaisseur du tube d'extraction des fumées a été augmentée de 3 mm à 4 mm afin d'agir comme un contrepoids.

Le D-56T a une culasse à coin coulissant verticalement, ce qui est très inhabituel pour un char soviétique. Selon les manuels d'ingénierie soviétiques, si l'axe d'alésage d'un canon de char depuis le sol du compartiment de combat est inférieur à 950-1 000 mm, une culasse coulissante verticalement doit être utilisée, mais si l'axe d'alésage est supérieur à cela, un coulissement horizontal la culasse doit être utilisée. En effet, la commodité d'enfoncer un obus dans la chambre change en fonction de la hauteur de l'alésage par rapport à la hauteur du chargeur moyen (170 cm). Si la hauteur de l'axe d'alésage est de 950 à 1 000 mm ou plus, la chambre sera au-dessus du coude d'un homme debout, comme le montre le dessin ci-dessous, de sorte qu'une culasse coulissante horizontalement est plus pratique pour le chargeur.


Selon ce critère, avoir un canon de culasse coulissant verticalement dans un char à tourelle nécessiterait une tourelle assez haute associée à une coque très courte (moins de 1 mètre de haut) ou une autre solution inhabituelle et peu pratique, et pour cette raison, la plupart des canons de char construits en Union soviétique ont une culasse coulissante horizontalement, comme de nombreux canons de chars construits à l'étranger, le L7 en étant un excellent exemple. 
Cependant, cela ne veut pas dire que ce critère était strictement appliqué ou qu'il faisait une différence majeure par rapport à d'autres facteurs comme l'espace de travail alloué au chargeur, le poids et la taille des munitions,
Dans le cas du D-56T, il semble que la décision d'utiliser une culasse à coulissement vertical a peut-être été influencée par la facilité de chargement en position assise, puisque la hauteur de l'axe d'alésage du D-56T par rapport au sol du compartiment de combat est de 1 500 mm - loin d'être inférieur à 1 mètre. Il est fort probable qu'il n'y avait aucune incitation réelle à avoir un bloc de culasse coulissant horizontalement pour un canon de 76 mm puisque les obus étaient relativement petits et légèrs, et étaient de toute façon faciles à charger.
Toutes les variantes du D-56T sont équipées d'un frein de bouche. Un frein de bouche moderne est capable de réduire la force de recul d'un fusil ou d'un canon à recul jusqu'à 80%, mais ils sont limités à environ 30%  afin que le système de recul hydraulique ne tombe pas en panne de manière catastrophique si le canon est tiré avec un frein de bouche endommagé. Le principal inconvénient d'un frein de bouche est que la fumée et les gaz chauds détournés latéralement ont pour effet secondaire d'obscurcir la vision du tireur et de révéler également la position du char. ce qui est grave pour un char de reconnaissance léger avec juste assez de blindage pour arrêter les tirs de mitrailleuses,


Le nouveau frein de bouche est revenu à un type à double déflecteur comme le ZiS-3 d'origine, mais était d'un nouveau style de freins dérivé du frein de bouche du D-25T conçu par le bureau d'études TsAKB  qui diffère  des frein de  " style allemand " utilisé sur les anciens pistolets D-25T). 
Les avantages des freins à fente et à déflecteur l'un par rapport à l'autre sont discutables et les deux types de freins fonctionnent selon des principes différents, mais ont un effet de freinage. La petite taille des fentes oblige les gaz propulseurs qui s'échappent à sortir à une vitesse extrêmement élevée, mais l'angle des fentes est intrinsèquement limité par la nécessité de protéger le char et les fantassins environnants des gaz
. En raison de cette restriction, la quantité de poussée produite à partir de chaque fente individuelle est faible, de sorte qu'un grand nombre de fentes est nécessaire pour atteindre un niveau utile de réduction du recul. Tout cela est illustré dans les  dessins ci-dessous. l

 
Pour le PT-76 en particulier, l'avantage d'un frein de bouche à double déflecteur par rapport au frein à fente précédent est évident : En effet le char peut transporter jusqu'à 20 soldats sur sa page arrière  lors des traversées de rivières, et un frein de bouche à fente aurait une chance beaucoup plus élevée de blesser les fantassins transportés sur le char qu'un type à double déflecteur. 
Les freins de bouche à fentes ont été utilisés sur des canons et des obusiers de calibres allant de 152 mm sur le ML-20 à 57 mm sur les premières variantes de production du canon Ch-51, il n'y a donc clairement aucune limitation de calibre, mais les canons modernes sont invariablement équipés d'un frein de type déflecteur. 
Par exemple, le premier freein de bouche à fente sur le Ch51 a été rapidement remplacé par un frein de bouche a double deflecteur
  beaucoup plus compact  sur le Ch -51M, et tous les obusiers russes de 152 mm produits après le ML-20 - y compris les canons tractés et automoteurs  ont également été équipés de freins de bouche à double déflecteur .
L'autre facteur probable se cache derrier l adoption du type déflecteur par rapport aux freins de type à fente est sa compacité, ce qui est important pour les chars car ils manoeuvrent dans des zones boisées où un long frein de bouche peut gêner le mouvement du char ou l'empêcher de tourner la tourelle pour viser. Cela permet également de s'assurer que la bouche ne s'enfonce pas dans le sol et ne provoque pas de dysfonctionnements lors de la conduite sur un terrain accidenté, bien que ce ne soit pas un problème pour le PT-76 en raison de sa coque relativement haute et de son canon court..
la tourelle son Equipement  électrique et son stabilisateur
La première version  du PT-76 comportait une rotation de tourelle électrique motorisée, mais pas de stabilisateurs. L'original PT-76 obr. 1952 avait l'entraînement de tourelle électrique EPB-4 installé, accordant une vitesse de rotation maximale de la tourelle de 17 degrés par seconde. Pour faire fonctionner le système  le commandant a été équipé d'une unité de commande KB-4, qui a l'apparence d'une poignée de bêche attachée à une boîte noire. 
L'unité de commande est essentiellement un rhéostat. La poignée de bêche pouvait être manipulée avec la main gauche du commandant à différents degrés afin de contrôler la vitesse de rotation de la tourelle
En ramenant la poignée en position centrale pendant que la tourelle était encore en mouvement cela  inversait la polarité du moteur de rotation électrique, produisant un effet de freinage jusqu'à l'arrêt complet de la tourelle. 
L'élévation du canont était contrôlée manuellement via le volant d'élévation du canon situé directement sous le viseur TShK-66.La manipulation en site était relativement lente, mais c'était typique pour tous les chars de l'époque. 
 Tout comme sur le T 54  et sur les chars occidentaux de l époque comme le e M41 Walker Bulldog et le Centurion Mk.III la disposition de l'unité de déplacement motorisée  et du volant d'inertie d'élévation manuelle du PT-76 n'est pas particulièrement ergonomique. 
En effet le volant d'élévation ensite se trouve au niveau de la poitrine alors l'unité de translation motorisée est légèrement au-dessus du niveau des épaules
De gauche à droite le volant d'inertie de la tourelle, l'unité de commande KB-4 et le volant d'élévation du canon.
Pour passer de la rotation motorisée de la tourelle électrique à la rotation manuelle, le mécanisme d'engrenage à vis sans fin doit être engagé et l'interface du moteur de rotation électrique doit être désengagée.
Autre défaut constaté sur les premierts version du PT 76
Ce véhicule amphibie de l'infanterie navale soviétique disposait d'une puissance de feu fiable pour attaquer les défenses côtières lors de débarquements amphibies, mais le manque de stabilisation des canons limitait considérablement la puissance de feu du PT-76. En entrant dans l'eau, un PT-76 était incapable de riposter contre des positions défensives sur le rivage jusqu'à ce qu'il atteigne un sol solide, mais même alors, le char ne pouvait tirer avec précision que pendant de courtes haltes. C'était un problème majeur car les navires de débarquement à partir desquels les chars sont lancés avaient une puissance de feu limitée contre des cibles ponctuelles durcies.
Aussi il a été decidé  placer dasn le PT 76 le stabilisateur STP-2P "Zarya. Le système de stabilisateur à deux plans STP-2P "Zarya" dérivé du stabilisateur STP-2 "Tsiklon" initialement développé et utilisé dans le T-54B. L'ajout du stabilisateur occupait un certain espace à l'intérieur de la tourelle, surtout avrc son générateur amplidyne, les boîtes de jonction électriques et la pompe hydraulique La plupart des équipements supplémentaires étaient non intrusifs, étant situés sous le canon ou derrière les poignées de commande et le viseur du commandant et les autres composants tels que les boîtes de jonction furentmontés sur les parois de la tourelle. Un protège-épaule pliable a été ajouté au support du canon du côté du commandant de la tourelle pour s'assurer que les réglages automatiques du canon stabilisé ne le blessent pas

Le stabilisateur a deux modes de fonctionnement : automatique et semi-automatique. Le mode automatique est le mode principal à des fins de combat où le stabilisateur fonctionne à sa pleine capacité opérationnelle et stabilise en permanence le canon avec une précision maximale. Ce mode  mode par défaut pendant le combat  est utilisé lors du tir depuis toutes les positions - à l'arrêt, en mouvement et pendant de courtes haltes. 
Le mode semi-automatique est un mode de fonctionnement auxiliaire ainsi qu'un mode d'urgence en cas de panne du stabilisateur où le système de stabilisation n'est pas utilisé et le système revient à un système de contrôle de tourelle et de canon motorisé à la place.
Un système d'autoblocage dans le stabilisateur STP-2P "Zarya" verrouille automatiquement l'élévation du canon  lorsque le tireur appuie sur le bouton de tir et il maintient le verrouillage jusqu'à ce que le chargeur ait fini de charger le canon et appuie sur son bouton de sécurité. C'est une caractéristique commune aec tous les autres stabilisateurs de canons de chars soviétiques de l'époque.
 Au moment du tir, le canon doit être hydrobloqué car le moment de force du recul du pistolet dépasse largement le moment de force qui peut être généré par l'entraînement d'élévation du canon  En tant que tel, le stabilisateur ne parviendra pas à maintenir le canon pointé dans l'angle d'élévation souhaité et la bouche aura tendance à être projetée vers le haut (montée de la bouche), faisant immédiatement perdre de vue la cible au tireur et rendant impossible l'observation de l'impact. Ce problème est résolu en verrouillant lecanon

 De plus, le système d'autoblocage améliore également les conditions de travail du chargeur car la culasse du canon ne monte pas et ne descend pas par rapport à la coque oscillante lorsque le char se déplace sur un terrain accidenté. ce qui rendrait lres opérations de chargement du canon en blessant  le chargeur.Et finalement la fonction de blocage automatique améliore la cadence de tir du PT-76B lorsqu'il se déplace sur un terrain accidenté.
Si le commandant du PT-76B veut tirer avec la mitrailleuse coaxiale immédiatement après le tir du D-56TS, le chargeur doit appuyer sur son bouton de sécurité avant de commencer à charger le canon ce qui permet au  commandant de reprend le contrôle de l'entraînement d'élévation du canon, lui permettant de tirer avec la mitrailleuse pendant que le chargeur procède au chargement du canon.
Selon la situation, le commandant du PT-76 peut activer ou désactiver l'autobloquant comme bon lui semble. Par exemple, le manuel du PT-76B indique que lorsque le char flotte dans des eaux calmes, le système de blocage automatique peut être désactivé. Dans ce cas, le pistolet n'est hydrobloqué qu'au moment du tir et il revient à un état stabilisé immédiatement après que le pistolet a terminé son cycle de recul. La combinaison des eaux calmes et de la faible vitesse de navigation rend inutile de garder le pistolet hydroblocqué pendant que le chargeur exécute ses tâches car le canon n'oscille pas beaucoup dans de telles conditions.

Modes automatique, semi-automatique
Vitesse de rotation maximale de la tourelle : 20°/s
Vitesse de rotation minimale de la tourelle : 0,1°/s

Vitesse d'élévation maximale du canon : 6°/s
Vitesse d'élévation minimale du canon : 0,05°/s
 



La précision de stabilisation dans le plan vertical est de 1,0 mil et la précision de stabilisation dans le plan horizontal est de 1,5 mil.  À l'approche d'une cible à une distance de 800 à 1 200 mètres en ligne droite, les chances de placer  un coup ay but de front est multipliée par 5,25, et les chances de marquer un coup sur la silhouette latérale à 1 000 mètres ont été augmentées de 6,3 fois.
 Les chances de marquer un coup tout en se déplaçant à un angle de 15 degrés par rapport à la cible ont été multipliées par 4. En bref, la mise en œuvre de "Zarya" a permis au PT-76 de tirer sur des cibles de type char à courte et moyenne portée avec une précision raisonnable à des vitesses comprises entre 12 et 25 km / h et d'ouvrir efficacement le feu sur les concentrations de troupes et les fortifications fixes à longue portée à la même vitesse. Plus intéressant encore, cela a également donné au char la capacité de tirer avec une grande précision sur des cibles à terre tout en naviguant sur des eaux relativement calmes, ce qui peut être partiellement attribué à la vitesse de navigation maximale relativement faible du char et à l'amortissement des vibrations du moteur par l'eau environnante.

Les Munitions
Le canon D-56T peu tirer pléthore de types de munitions préexistants, tous identiques aux munitions utilisées dans les canons de campagne ZiS-3 remorqués. Le PT 76 peut emporter 24 obus HE-Frag, 4 obus APHE, 4 obus APCR et 8 obus HEAT. À la fin des années 70, cela a été changé en un mélange de 20 obus HE, 4 obus APHE, 4 obus APCR et 12 obus HEAT.
On peut voir la faible quantité d'obus perforants
 
Mitraileuse Coaxiale SGMT
Comme la plupart des autres véhicules blindés de son époque, le PT-76 est armé d'une mitrailleuse coaxiale SGMT. La mitrailleuse est alimentée par des caisses séparées de 250 cartouches, dont quatre sont transportées dans le char pour un total de 1000 cartouches. La mitrailleuse est alimentée par une caisse les trois autres caisses sont rangées sur un support métallique adjacent pour faciliter un remplacement et un rechargement rapides.
Un millier de cartouches n'est pas une grande quantité, surtout si l'on considère que le PT-76 est généralement le seul char disponible pour soutenir les compagnies d'infanterie navale, et une grande quantité de munitions devra être dépensée pour supprimer et vaincre l'infanterie ennemie,Mais aussi ce n 'est  moins que les 3 500 cartouches transportées dans un T-54. 
C'est encore moins impressionnant si l'on considère que la seule autre mitrailleuse montée disponible pour le fantassin de la marine à l'époque est la mitrailleuse SGMB ou DShK sur un BTR-60, qui emporte 2 000 cartouches pour le premier et 500 pour le second. , complété par 3 000 cartouches supplémentaires pour une paire de mitrailleuses auxiliaires SGMB pour les passagers. 
Heureusement, le PT-76 est suffisamment spacieux pour que plusieurs boîtes de munitions supplémentaires puissent être placées sur le sol du char sans affecter l'espace de travail de l'équipage, donc si, par exemple, des boîtes supplémentaires étaient rangées à droite du conducteur ou dans le petit espace devant la cloison du compartiment moteur, le chargeur pourrait éventuellement reconstituer ses supports prêts pour la coaxiale pendant une accalmie dans les combats sans réel problème. Néanmoins, le manque de racks de stockage appropriés à proximité du chargeur laisse perplexe étant donné le grand surplus d'espace à l'intérieur du réservoir, et le besoin d'improvisation n'est pas une solution idéale
Blindage
 
 

La tourelle et la coque sont construites à partir de plaques d'acier de blindage à haute dureté et haute résistance soudées de qualité 2P avec des épaisseurs allant de 6 mm à 15 mm. Il s'agit d'un acier au manganèse-molybdène  pour des épaisseurs de plaque de 8-14 mm
L'équivalent étranger direct de cette nuance d'acier est l'acier de blindage à haute dureté MIL-DTL-46100 pour véhicules de combat,

 
 
Les exigences initiales pour l'armure du futur nengin 'étaient pas très exigeantes,  Il fallait fournir une protection complète contre les tirs de mitrailleuses de calibre .30, et en tant que tel, le blindage latéral de la coque ne devait avoir que 8 mm d'épaisseur, l'avant de la tourelle ne devait avoir que 10 mm d'épaisseur et le plancher  une épaisseur de 4 mm pour le protéger des mines antipersonnel. Le prototype de l'Object 740 remplissait toutes ces exigences Il est important de noter que l'Obj. Le 740 n'était pas le plus lourdement blindé des prototypes  car il est  dépassé en termes de protection frontale par le K-90 et le P-39 (Object 101). Cependant, le K-90 avait une protection globale plus faible et le P-39 avait une myriade d'autres problèmes, et les deux ont finalement perdu face à l'Obj. 740. Le profil de blindage du PT-76 est bien connu et a été illustré dans un format pratique ci-dessous :
 
La forte inclinaison des faces frontales de la coque a comme corollaire une plus forte protection du char en raison du ricochet des projectiles percutants combiné à un phénomène connu sous le nom de "shattergap", ce dernier étant un mécanisme fiable pour la neutralisation des projectiles.  Plus l'obliquité de la plaque de blindage est élevée, plus l'effet est prononcé. À des angles très élevés, la balle entière est susceptible de se briser et de ricocher, ne laissant que des dommages superficiels sur la plaque.
Châssis

La plaque supérieure du glacis a une épaisseur de 10 mm et était inclinée à 80 degrés, ce qui la rendait essentiellement impénétrable à toute balle de mitrailleuse en service, même aujourd'hui, car même une balle BS-41 à noyau de carbure de tungstène (cermet) de 14,5 mm ricochera et se détruira à l'impact.Afin de réduire le poids du char, l'épaisseur de la plaque supérieure du glacis a été réduite de 10 mm à 8 mm en mai 1962. Cela n'a pas eu d'effet notable sur sa résistance aux balles de mitrailleuses, puisque l'angle de la pente est si important qu'un ricochet est pratiquement garanti même avec la plaque légèrement plus mince.
La plaque inférieure du glacis est plus épaisse à 13 mm, mais moins inclinée à seulement 45 degrés. Gardant à l'esprit que .50 cal M2 Ball ne peut pénétrer que 13 mm d'armure homogène à 0 degré à une distance de 200 m, et qu'il pénétrerait certainement beaucoup, beaucoup moins qu'à 45 degrés même à 50 mètres,
En 1957, la coque a été modifiée avec une hauteur accrue au niveau de l'anneau de la tourelle pour s'assurer que le canon puisse s'abaisser de -4 degrés lorsqu'il visait derrière le char, au-dessus du châssis arrière Cela a été fait en élevant la coque de 60 mm au niveau de l'anneau de la tourelle, de sorte que le profil latéral du char a acquis une pente vers l'arrière distincte comme un M4 Sherman. Cela a eu des effets secondaires minimes sur les autres caractéristiques du char
En octobre 1962, la coque fut à nouveau relevée de 70 mm pour améliorer sa flottabilité, et l'angle du glacis inférieur passa de 45 degrés à 55 degrés. Tous les  PT-76 construits dans les années suivantes ont suivi cette modification
 
Les flancs ont une épaisseur  de 10 mm. Mais cela est moins grave car même si le tireur est capable d'aligner un tir à l'angle parfait, les chances de toucher les parties exposées de la coque latérale inférieure ne sont pas trop élevées, car la moitié de la plaque est dissimulée sous le train de roulement du char, de sorte que les chances de réussir à endommager le char latéralement sont encore réduites. Si la plaque de coque latérale supérieure peut arréter les balles d'une.30 cal M2 AP elle peut aussi arreter  les balles d'une 12,7 mm. Dans l'ensemble, cela signifie que le côté du PT-76 est généralement assez résistant aux tirs de fusils et MG etls que la M61 .
 
 

 

En 1967, le schéma de blindage a de nouveau été modifié, bien que très légèrement. Le blindage de la coque et de la tourelle est resté absolument identique au modèle de 1962, mais la plaque inférieure inclinée à l'arrière de la coque a été épaissie de 6 mm à 8 mm. Cette modification a probablement contribué à améliorer la protection de la transmission contre les éclats d'obus d'artillerie, mais l'objectif était d'augmenter la rigidité de la poupe de la coque. Cette modification a eu peu d'effet sur la fabrication ultérieure de PT 76 car la production de masse du PT-76 en Union soviétique a pris fin en 1967.
 
La Tourelle
La tourelle est constituée de deux plaques d'acier incurvées d'épaisseurs différentes - 15 mm et 10 mm - soudées ensemble pour former respectivement les parois avant et arrière. La plaque avant plus épaisse de 15 mm couvre environ 3/5 de la circonférence de la tourelle, et les 2/5 restants sont couverts par la plaque arrière plus fine. Le toit est une seule plaque plate d'une épaisseur de 6 mm. La plus grande épaisseur de la plaque de blindage de la tourelle par rapport au blindage de la coque avant est apparemment contrebalancée par la pente verticale réduite par rapport au blindage de la coque avant, mais la courbure de la tourelle ronde crée une pente horizontale qui doit également être prise en compte.
 
 
L'arrière de la tourelle n'est protégé que par 10 mm d'acier incliné à 35 degrés, mais c'est plus que suffisant pour résister de manière fiable aux projectiles de calibre .30 à n'importe quelle distance. L
Dans l'ensemble, le PT-76 offre un niveau de résistance balistique équivalent ou supérieur par rapport à un véhicule blindé de transport de troupes typique, mais manque considérablement de protection par rapport à un char léger contemporain. Comparé côte à côte aux véhicules blindés de transport de troupes britanniques FV432 et américain M113, le PT-76 a un peu plus de protection sur tous les aspects et a un blindage frontal bien mieux incliné, mais le char a beaucoup moins de blindage qu'un M41 Walker Bulldog.
 Du point de vue d'une armée de l'OTAN, le blindage du PT-76 peut être considéré comme déficient Un PT-76 peut être considéré comme immunisé contre les tirs de mitrailleuses lourdes vers l'avant, et très résistant aux tirs de fusil de petit calibre sur les côtés. Bien qu'il soit vulnérable aux tirs de mitrailleuses lourdes sur les côtés, Le retour d'expérience prouve que les tir de mitrailleuses ont été généralement inefficaces contre le PT-76 et le BTR-50 qui a le même  blindage
Les mines anti personnelles bien que le blindage soit extrêmement fin ne peuvent percer celui cPour les mines antichar cel est un peu différent  Si un PT-76 devait faire exploser une mine terrestre antichar typique de 8 à 10 kg comme un 
M15 sous ses chenilles, une grande partie du ventre serait complètement éventré et le char serait probablement retourné par l'explosion. Les mines antichar plus petites conçues pour briser les chenilles seraient capables de perforer le plancher même si elles explosent sous les chenilles et non directement sous le char.
Outre la menace des mines, il ne serait pas difficile d'infliger de sérieux dégâts à la suspension du char avec les éclats d'obus d'un obus d'artillerie de 105 mm explosant à proximité. L'artillerie de 155 mm serait particulièrement létale car la puissance de pénétration des éclats d'obus produits par un obus explosif typique de 155 mm devrait être suffisante pour perforer le blindage arrière à partir de 100 mètres et le blindage latéral à plus de 60 mètres ( spécifications STANAG 4569). Les détonations rapprochées d'obus d'artillerie de 152/155 mm sont connues pour être suffisamment puissantes pour démolir complètement les suspensions de chars et  les dispositifs externes,
Ainsile PT-76 serait très vulnérable à de telles attaques .et les obus explosifs de 155 mm sont la menace la plus dangereuse,

Fumigènes
Les premières variantes du PT-76 étaient équipées de deux containers fumigènes BDSh-5. Le BDSh-5 a été développé en 1944 pour le T-34-85 et les véhicules blindés de combat dérivés du T-34. Il a continué à être utilisé dans un certain nombre de chars soviétiques jusqu'à ce qu'il soit retiré du service dans les années 1950 en raison de l'avènement de la fumée auto-générée à l'aide du système d'écran de fumée TDA. Le PT-76 a utilisé le BDSh-5 jusqu'en 1957, date à laquelle il a reçu le système d'écran de fumée TDA, après quoi les supports métalliques initialement destinés aux containers fumigènes ont été réutilisés pour les fûts de carburant.
Le BDSh-5 mesure 0,45 mètre de diamètre et 0,65 mètre de longueur. Dans des conditions de vent minimal, un  seul container BDSh produit suffisamment de fumée blanche pour couvrir une superficie de 40 000 mètres carrés, soit un carré de 200 mètres de largeur et de longueur. Il produit de la fumée pendant cinq à sept minutes. Cela est efficace pour protéger le réservoir de l'œil nu et des projecteurs à lumière blanche, mais elle est totalement inefficace contre les projecteurs infrarouges comme les AN/VSS-1 et AN/VSS-3A, qui fonctionnent dans le 785- Gamme de 1000 nm.

 

 
A l intérrieur le PT-76 possédait un système de génération de fumée TDA installé depuis 1955. TDA signifie "Thermal Smoke Apparatus".Cela est classique sur les engins Soviétiques
Un écran de fumée est créé en injectant du carburant diesel dans une section spéciale du collecteur d'échappement. Le métal chaud du collecteur d'échappement évapore le diesel instantanément, le transformant en une fine vapeur. La fumée générée par l'échappement est en fait un brouillard, car elle est formée par la condensation des vapeurs diesel chaudes lorsqu'elle entre en contact avec l'air frais environnant. Le brouillard n'obture la lumière que dans la gamme de longueurs d'onde de 400 à 760 nm, donc encore une fois, il n'est pas efficace pour bloquer les dispositifs d'imagerie infrarouge. Néanmoins, il est utile pour couvrir les retraites ainsi que les avancées, et il est particulièrement utile pour masquer l'avancée des unités de chars à travers les rivières. Le générateur de fumée TDA est activé par le conducteur via un boîtier de commande.
Protection NBC
 


Lorsque toutes les écoutilles sont fermées, la seule source d'air dans le compartiment de combat provient du ventilateur de ventilation intégré à l'arrière de la tourelle. Le ventilateur en forme de dôme est situé tout à l'arrière de la tourelle, offrant au tireur et au chargeur un flux d'air de choix.
 
Le ventilateur est protégé par un capot blindé en forme de poêle à frire de même épaisseur que le blindage de l'arrière de la tourelle. Ce ventilateur n'offrait aucune protection contre la contamination NBC.
Le PT-76 manquait de protection contre les attaques nucléaires, biologiques et chimiques, mais cette situation a été modifiée avec le PT-76B qui possède un système de protection nucléaire, appelé "PAZ", qui se traduit littéralement par "protection anti-nucléaire" (Противоатомная Защита).
Le ventilateur du ventilateur à l'arrière de la tourelle a été remplacé par un nouveau type, mais contrairement à la plupart des autres chars de l'Armée rouge à l'époque, il n'a pas été directement remplacé par un système de ventilation capable de créer une surpression à l'intérieur du compartiment de combat, comme le T-54 dont le ventilateur d'origine a été entièrement retiré. Le nouveau ventilateur était doté d'un mécanisme d'auto-obturation automatique pour empêcher la poussière radioactive de pénétrer par l'entrée d'air. En dehors de cela, il n'y avait qu'un simple ventilateur électrique. Comme vous pouvez le voir sur la photo ci-dessous, l'apparence du nouveau ventilateur de l'intérieur du réservoir est clairement différente de l'ancien type. 
Extérieurement, le nouveau ventilateur se distingue de l'ancien par le couvercle blindé en forme de dôme arrondi, le collier élargi autour du couvercle blindé et la présence de trois boulons dépassant de la surface du couvercle.
Une coupe transversale du mécanisme de scellage automatique
Un compresseur a été installé dans la coque, à côté du conducteur. Il avait son propre système d'admission d'air et de filtration, séparé de l'admission d'air du moteur et de l'admission d'air du ventilateur. Lorsqu'il est activé, une surpression se produit à l'intérieur du char, empêchant la pénétration de particules irradiées ainsi que les attaque chimiques et biologiques. L'air entre par une entrée circulaire avec un tamis à mailles, et le filtre cyclone à l'intérieur du compresseur éjecte la poussière et d'autres contaminants à travers une petite fente à côté de l'entrée.
 
Mais l absence de caspteurs exterieurs pouvant détecter la présence d'agents chimiques et biologiques dans l'atmosphère, fait que l'équipage n'est pas automatiquement alerté d'une menace, Le seul signal est la présence de drapeaux de contamination placés par  les unités de reconnaissance NBC montés sur le BRDM-1RKh ou le BTR- 40RKh .

 
 

Le DP-3B est la version char avec un boîtier de commande analogique et un affichage de lecture, complet avec une chambre d'ionisation montée dans la ciasse en bas à coté de la poulie
Le fait d''utiliser d'une chambre à ions au lieu d'un tube Geiger-Muller obliger de placer cet appareil moins performant dans une position inhabituellement basse dans la coque afin de detecter le rayonnement du sol. 

.

Le démontage de la transmission nécessite d'abord que la boîte de vitesses soit déconnectée de l'arbre de transmission et des boîtes de vitesses du réducteur. Cela prend beaucoup de temps, mais pas plus gênant que dans n'importe quel autre char soviétique. Les conduits de jet d'eau n'interfèrent pas avec le retrait de la boîte de vitesses, ce qui peut être fait avec un palan moteur commun. Bien que le retrait du moteur et de la transmission soit relativement simple, l'absence de couplage direct entre la transmission et le moteur pour créer un seul bloc d'alimentation et l'absence de déconnexion rapide entre les composants peuvent être considérés comme quelque peu anachroniques, même si c'était la norme. configuration pour la majorité des véhicules blindés soviétiques tout au long de la guerre froide.


Le radiateur se trouve sur le pont moteur, à gauche du moteur et à côté de l'orifice d'échappement. Le bloc radiateur refroidisseur d'huile est placé au-dessus du bloc radiateur à eau. La température maximale admissible de l'eau est de 105°C et de 110°C pour l'huile, au-delà de laquelle le moteur surchauffe. L'absence de compresseur ou de turbocompresseur sur le V-6 et le grand volume du compartiment moteur signifient que la charge de travail du système de refroidissement n'est pas très élevée.
 

Le système de refroidissement n'utilise pas de ventilateur pour aspirer l'air à travers le radiateur pour évacuer la chaleur, mais utilise à la place un nouveau système de différentiel de pression. Selon le principe de Bernoulli, les fluides tels que l'air ont une pression inférieure lorsqu'ils s'écoulent à une vitesse plus élevée par rapport aux fluides s'écoulant à une vitesse plus faible. La différence de pression crée une force d'aspiration, qui est utilisée dans le système de refroidissement du PT-76 pour aspirer l'air frais du dessus du radiateur à travers les tubes de refroidissement du bloc radiateur et dans le conduit d'échappement, où il est éjecté hors du radiateur. l'orifice d'échappement. Cela refroidit l'eau et l'huile dans le radiateur et les gaz d'échappement en même temps, ce qui en fait un système compact très fiable sans aucune pièce mobile. Le système faisait également partie du système de respiration d'air du moteur. Des systèmes de refroidissement similaires ont été utilisés dans le char lourd T-10 et le char de combat principal T-64 et ont contribué à la compacité de leurs compartiments moteur, ce qui a permis des réductions significatives de la masse des chars. L'inconvénient de ce type de système de refroidissement est la capacité de refroidissement limitée - un problème qui a tourmenté le T-64 depuis son entrée en service en 1968 jusqu'à nos jours. En fait, l'une des plaintes les plus fréquentes du T-64 pendant la guerre civile ukrainienne (des deux côtés) est qu'il surchauffe trop rapidement et trop souvent. Ce n'est probablement pas un problème pour le PT-76 car il utilise un moteur à aspiration naturelle,
 

Le char posseède un train de roulement de  six galets creux en métal estampé de grand diamètre (670 mm) avec des jantes en caoutchouc. Il y a un amortisseur hydraulique associé à un ressort volute sur les première et sixième roues pour améliorer la qualité de conduite sur les terrains accidentés. Comme c'était typique pour les chars soviétiques d'après-guerre, les roues étaient munies de barres de torsion. Les premiers modèles du prototype Object 740 utilisaient de l'acier à haute dureté pour ses barres de torsion, mais celles-ci se sont avérées inadaptées au faible poids du réservoir car elles vibraient très fortement lorsque le réservoir traversait un terrain accidenté. un remplaçant.
 
 


Les roues de route des variantes antérieures du PT-76 étaient estampées à partir de tôle d'acier ordinaire et avaient une surface lisse (voir photo ci-dessus), mais plus tard, une nouvelle conception de roue de route avec des nervures de renforcement radiales estampées a été introduite comme nouveau type standard pour les nouveaux produits. réservoirs et ont lentement remplacé les roues de route plus anciennes au cours des prochaines décennies à mesure qu'elles s'usaient sur les réservoirs plus anciens. Les roues de route méritent une attention particulière car elles étaient les premières de ce type et ont conduit au développement de roues creuses similaires pour une variété de véhicules utilisés à diverses fins. Étant creuses et très légères, les roues avaient une flottabilité positive et contribuaient à la flottaison du char.
 


Les chenilles entièrement métalliques sont du type à une seule goupille, avec une largeur de 360 ​​mm et un pas de 128 mm. Il y a 96 maillons de chaque côté. Comme la plupart des autres véhicules à chenilles produits en URSS à l'époque, les chenilles du PT-76 sont d'un type non pris en charge.
 


Le PT-76 a une superbe tenue de route sur sur sol meuble, ce qui lui permet de passer  là où la plupart des autres chars ne le pourraient pas. Comparé à son rival américain le M41 Walker Bulldog, le PT-76 exerçait environ 36 % de pression statique au sol en moins - 0,46 kg/cm² contre 0,72 kg/cm². Ceci est utile lorsque vous voyagez sur de la neige molle et des terrains boueux, mais ne résout pas entièrement le problème de la faible puissance du moteur et ne prend pas en compte les différences de traction entre les différentes conceptions de chenilles. En outre, il peut être plus difficile de manœuvrer dans des sols gorgés d'eau et des marécages en raison du système de direction à embrayage et frein. Sans direction régénérative, la puissance est perdue chaque fois que le conducteur ajuste la direction du réservoir ou effectue un virage. Cela peut être négligeable sur les routes pavées, mais peut entraîner une perte de traction lors de la conduite sur un terrain meuble

Motorisation
 
 
 

Contrairement à la plupart des chars légers, le PT-76 n'est pas particulièrement rapide ou agile. Son principal attrait est sa capacité à nager. Ses caractéristiques de mobilité sont pour la plupart comparables à celles du char moyen T-54, mais sa faible vitesse s'est avérée problématique pour un char qui est généralement chargé de tâches de reconnaissance. À la fin des années 1950, il était devenu clair que le PT-76 n'était plus suffisant pour les divers rôles qui lui étaient assignés, en partie à cause de son armement insuffisant, mais surtout à cause de sa faible vitesse par rapport au T-55, qui avait a été récemment amélioré avec un moteur plus puissant. La nécessité d'une mise à niveau a été reconnue quelques années seulement après l'adoption officielle du PT-76 en 1952, catalysant le développement de divers remplacements à la fin des années 50 et au début des années 60, aucun d'entre eux n'a réussi à remplacer le PT-76 pour diverses raisons. En tant que tel, le PT-76 a rempli son service dans l'armée russe avec le moteur d'origine.
Le PT-76 est propulsé par le moteur diesel V-6, développant 240 ch à 1800 tr/min. Le nom du moteur peut prêter à confusion car il ne s'agit pas d'un moteur six cylindres en V, mais en fait d'un moteur six cylindres en ligne de 19,1 litres avec six cylindres verticaux disposés en rangée. Le V-6 a été créé en divisant par deux le légendaire moteur V-2, il y a donc une grande interchangeabilité des pièces entre les deux moteurs, et la fabrication du V-6 a été grandement simplifiée. Comme le V-2, le diamètre du piston du V-6 est de 150 mm, avec une course de 180 mm. La création du V-6 est née du besoin d'un moteur relativement simple pour les véhicules légers avec de bonnes caractéristiques dynamiques. La décision de créer un moteur six cylindres en ligne a été justifiée par le bon équilibre intrinsèque de ce type de moteur, le rendant exceptionnellement doux aux régimes de fonctionnement de 1600-1800 tr/min, bien que des vibrations puissent encore se produire au ralenti de 500 tr/min. La densité de puissance du moteur n'est pas particulièrement élevée, étant donné que son poids à sec est de 825 kg et que sa puissance maximale n'est que de 179 kW, mais elle est suffisante pour un moteur de son niveau technologique. Comparé à quelque chose comme le six cylindres de 14,7 litresMoteur boxer à essence suralimenté 
Continental AOS-895-3 , le V-6 est plutôt gros et sous-alimenté. Le V-6 a une durée de vie de 250 heures. Le moteur peut être démarré électriquement ou avec de l'air comprimé fourni par deux réservoirs d'air comprimé placés sur le côté gauche du poste de conduite. En octobre 1964, le moteur V-6B mis à jour pour le PT-76B a commencé à être fabriqué en grande quantité et a été mis en œuvre dans de nouveaux réservoirs de production PT-76B en novembre. Les principales différences concernaient le système de lubrification, l'embrayage à friction principal et le nouveau générateur G-6.5S de 6,5 kW, remplaçant le générateur G-73 de 1,5 kW. Le générateur nettement plus puissant était nécessaire pour alimenter le nouveau système de stabilisation à deux plans et d'autres équipements électriques.
L'aspect extérieur du V-6 est illustré dans les dessins ci-dessous. Le dessin de gauche montre la pompe à carburant, la pompe à huile, le tachymètre électrique, le système de distribution d'air pour les six cylindres (pour le démarrage pneumatique par temps froid) et d'autres éléments essentiels assortis. Le dessin à droite nous donne une bonne vue du démarreur électrique ST-721 en interface avec les dents du volant. Derrière se trouve le générateur de courant continu G-73 qui alimente le réservoir en électricité et charge les accumulateurs au plomb.
 


La puissance brute du V-6(B) est de 240 ch, mais la puissance nette n'est que d'environ 190 ch. Compte tenu du poids léger du nouveau char léger, il a été décidé qu'un simple système de direction à embrayage et frein suffirait. Lors du développement du PT-76, il a été suggéré que le char utilise le système de transmission et de direction du T-34, car il était facilement disponible et très simple à fabriquer car l'outillage existait toujours. Les premiers prototypes de l'Object 740 avaient cette transmission installée, mais elle s'est avérée inadaptée à long terme, en partie parce que la conception de la transmission était fondamentalement obsolète et en partie parce que le réservoir avait besoin d'une transmission plus complexe pour transférer la puissance à ses jets d'eau, sa pompe de cale mécanique et les chenilles en même temps. Dans ce but,

La boîte de vitesses se trouve à l'arrière du compartiment moteur sur le même axe que le moteur. Il reçoit la puissance de l'arbre de transmission du moteur et la distribue à travers les deux embrayages à friction fixés de chaque côté de la boîte de vitesses. Les embrayages à friction latéraux se connectent à une paire de réducteurs de chaque côté, destinés à transférer la puissance aux doubles jets d'eau et aux pompes de cale du réservoir, mais les réducteurs n'interagissent pas avec les arbres de transmission jusqu'à ce que le conducteur l'engage en préparation pour la natation, donc le les arbres de transmission transfèrent efficacement la puissance directement aux transmissions finales. Le passage des vitesses se fait grâce à un système de tringles mécaniques.
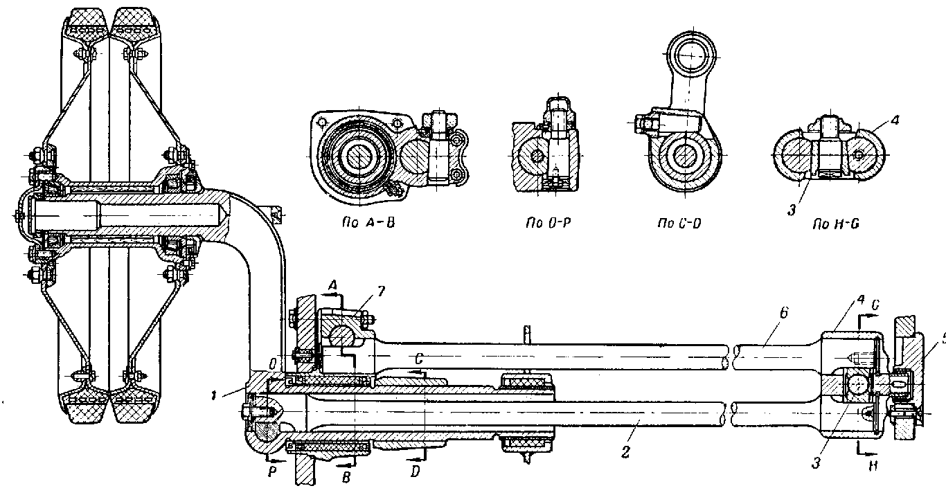
Un schéma cinématique du groupe motopropulseur est disponible ci-dessous. Notez le mécanisme de prise de force des transmissions finales à la turbine à jet d'eau. Lors de l'utilisation du PT-76 dans l'eau, le conducteur dirige avec les leviers de direction comme d'habitude, et il contrôle la vitesse du réservoir avec la pédale d'accélérateur et en changeant de vitesse.
1 - Moteur ; 2 - Volant et embrayage à friction principal ; 3 - Accouplement arbre de transmission-boîte de vitesses ; 4 - Boîte de vitesses ; 5 - Embrayages latéraux à friction ; 6 - Boîte de réduction; 7 - Transmissions finales ; 8 - Arbres à cardan ; 9 - Entraînements pour turbine à jet d'eau; 10 - Turbines ; 11 - Pignon d'entraînement ; 12 - Commandes des pompes de cale
Poste conduite  Chauffeur mecanicien
La plupart des blindés soviétiques sont peints en blanc à l'intérieur Par contre les équipements divers et les canons sont généralement peints en jaune-vert intérieur russe, tout comme les planchers de la coque
 
À l'avant immédiat du conducteur se trouve le tableau de bord et ses trois périscopes. À sa droite, peu d'intérêt si ce n'est les deux accumulateurs qui servent au système électrique du réservoir. Le conducteur dispose d'un plafonnier unique, situé à côté du mécanisme d'ouverture de la trappe et du boîtier de commande du système de lutte contre l'incendie.Les commandes du conducteur sont visibles sur les photos ci-dessous. Comme vous pouvez le voir, les pédales et les leviers de direction ne sont pas installés sur le plancher de la coque, mais sur la plaque inférieure du glacis. Le siège du conducteur est placé sur le plancher de la coque et positionné de telle sorte que les jambes du conducteur soient surélevées au-dessus du niveau des hanches lorsqu'il repose ses pieds sur les pédales. C'est très visible sur la photo de droite.
 


La lecture des jauges sur le tableau de bord n'est pas facile, mais le conducteur peut voir hors des périscopes avec une relative facilité sans avoir besoin de trop se pencher en avant. Lorsque l'angle de la plaque inférieure du glacis est passé de 45 degrés à 55 degrés en 1962, la position des commandes au pied du conducteur par rapport à la hauteur du siège a été abaissée en conséquence, de sorte que les pieds du conducteur soient à peu près au niveau des hanches au repos. sur les pédales. Cela aurait certainement été plus confortable qu'avant.
En 1958, un gyrocompas GPK-48 a été installé pour la navigation inertielle de base. Celui-ci a été rapidement remplacé par un gyrocompas GPK-59 sur le PT-76B en 1959. Combiné à une carte, le gyrocompas a donné au char une méthode de navigation fiable entre les points de cheminement.
Il y a une trappe d'évacuation circulaire installée dans le plancher de la coque, à gauche du siège du conducteur. Il a à peu près la même taille que la trappe du conducteur, ce qui signifie qu'il est inhabituellement grand par rapport aux trappes d'évacuation des chars moyens et lourds soviétiques typiques ainsi que des chars étrangers. Cela a probablement été influencé par les exigences beaucoup plus clémentes pour la protection du ventre du PT-76.

 
 

 
Les Coupures humides et leur franchissement
 
 
 


La mobilité maritime exceptionnelle était la caractéristique déterminante du PT-76. Alors que d'autres chars légers étaient également équipés de canons puissants, dont beaucoup étaient bien plus puissants que le D-56T, le PT-76 était le seul char de ce type à être complètement amphibie. C'était également le premier véhicule de ce type à utiliser des jets d'eau pour la propulsion par voie d'eau, plutôt que des hélices traditionnelles.
La nature amphibie du PT-76 le rendait irremplaçable lors des passage du navire à la terre ferme et offrait des opportunités uniques de mener des manœuvres tactiques sur de grands fleuves.
Exécutée correctement avec un soutien aérien, des barrages d'artillerie et des mains rapides, la présence de chars PT-76 dans une division de chars peut aider à réduire la perte d'élan stratégique des obstacles d'eau, et offre même une couche supplémentaire d'opportunités tactiques.
Chars PT-76B organisant un assaut massif sur la rivière pour la camera

 
 
Deux entrées d'eau sont situées sous le compartiment moteur derrière l'avant-dernière roue de route de chaque côté de la coque. L'eau passe à travers un tamis d'admission conçu pour empêcher les gros débris de pénétrer dans le jet d'eau et d'endommager la pompe. La pompe à l'intérieur du conduit de jet d'eau a une turbine entraînée par le moteur, qui aspire l'eau et la rejette par les orifices arrière. Les pales de la turbine ont un diamètre de 340 mm. Des hydrofoils de stator sont placés derrière la roue pour éliminer le moment de rotation, et le conduit de jet d'eau se rétrécit en un étranglement près des sorties. Cela crée un jet régulier d'eau à grande vitesse avec un écoulement linéaire efficace, par opposition à un écoulement perturbé qui se dissipe rapidement après avoir quitté la sortie. Comme indiqué précédemment, la direction est accomplie en tirant sur les leviers de direction gauche ou droit qui ferme le couvercle sur la sortie du même côté que le levier et coupe l'alimentation de la pompe, faisant pivoter le véhicule à partir de la poussée du seul jet d'eau restant. Il est possible d'inverser le réservoir dans l'eau en passant en marche arrière, ce qui ferme les deux couvercles sans couper l'alimentation des deux pompes à eau et ouvre simultanément les deux sorties vers l'avant, orientant ainsi le flux d'eau par l'avant- uniquement face aux prises.
 

Les jets d'eau sont chacun alimentés par le moteur via un arbre de transmission à partir d'un réducteur spécial fixé à la boîte de vitesses. Lors de tests avec le véhicule d'émulation spécial Object 728, les jets d'eau du PT-76 se sont avérés produire une force de traction de 82 kgf en première vitesse, 900 kgf en deuxième vitesse et 1650 kgf en troisième vitesse. L'arbre de transmission et la boîte de vitesses du réducteur sont illustrés dans les deux photos ci-dessous
 


L'ouverture et la fermeture du brise lame sont réalisées par un moteur électrique mais une manivelle manuelle est également disponible.
 


L'une des principales idées lors de la conception de la forme de la coque était qu'elle devait être stable à chaque étape du processus de franchissement des obstacles d'eau. Le char devait rester stable lorsqu'il entrait dans l'eau, que ce soit depuis une berge ou depuis la rampe avant d'un navire de débarquement d'assaut, puis il devait résister au tangage et au roulis par de forts courants et des vagues tout en progressant. La coque devait également être suffisamment solide et stable pour que le recul du canon puisse être complètement absorbé par l'eau à travers les parois de la coque, car la force de recul ne pouvait pas être transférée à la suspension car elle ne touchait pas le sol solide. Cela a été largement déterminé par la quantité de flottabilité excédentaire fournie par la conception de la coque.
 
Aussi pour asssusrer la répartition de la flottabilité de la coque celle ci devait être plus enfoncée dans l eau à l'arrière afin que la poussée des jets d'eau ne fasse pas basculer le char dans l'eau. C'est pourquoi le PT-76 semble lourd à l'arrière lorsqu'il est à flot.
L'une des exigences établies par le ministère des transports était que le nouveau char léger amphibie devait pouvoir transporter temporairement une force de débarquement de 20 hommes à travers des obstacles d'eau, tandis que la variante de transport de troupes blindé basée sur le char léger amphibie devait être capable de transporter 25 hommes à travers des obstacles d'eau ainsi que sur des marches. L'objectif était de faire en sorte qu'un régiment d'infanterie puisse être débarqué sur la rive opposée d'une rivière avec un soutien de char et un effectif complet d'armes lourdes, améliorant ainsi les chances de réussir à défendre et à tenir la rive jusqu'à ce que la force principale puisse traverser. L'infanterie pouvait également être transportée de cette manière lors des débarquements navire-terre, mais cela était rarement pratiqué.
 
Bien sûr, les fantassins seraient extrêmement vulnérables aux tirs de mitrailleuses, aux bombardements d'artillerie ou aux attaques aériennes, de sorte que cette méthode de transport n'est pratique que dans des conditions relativement sûres. Si possible, le PT-76 serait débarqué directement sur le rivage sur un navire de débarquement comme le LST de classe Ropucha ou des aéroglisseurs de débarquement comme l'aéroglisseur de classe Aist. Aussi bon nageur soit-il, le PT-76 est encore assez lent dans l'eau, ce qui en fait des cibles faciles pour l'artillerie côtière et les missiles antichars. Le bombardement du rivage depuis la péniche de débarquement ne peut pas faire grand-chose pour supprimer les défenses ennemies
 
 
 Carburant et autonomie
 
Le PT-76 dispose de deux réservoirs de carburant internes regroupés sur le côté droit du compartiment moteur. Le carburant est réparti entre un grand réservoir de 150 litres et un plus petit réservoir dans le flotteur de coque de 100 litres, pour un total de 250 litres. Cela offrait au PT-76 une autonomie de croisière de 370 à 400 km sur des routes goudronnées, soit environ la moitié de celle hors route. Le PT-76B comportait un troisième réservoir de carburant interne (illustré dans le dessin ci-dessous) pouvant contenir 140 litres de carburant, augmentant la capacité totale de carburant à 390 litres, accordant au PT-76B une autonomie de 480 km sur des routes goudronnées.
 

C'était supérieur à ce que la plupart des chars étrangers comme le M41 Walker Bulldog qui avec son moteur à essence haute performance de 500 ch avait une autonomie de seulement 120 km sur les routes  mais  en tout terrain l autonomie n 'est que  40 kilomètres environ, soit quelques heures de march
C'était important pour les chars PT-76 des bataillons de chars d'infanterie navale, car ils étaient obligés d'établir une tête de pont lors des débarquements amphibies avec un soutien logistique limité, mais c'était encore plus important pour les chars PT-76 des compagnies de reconnaissance, car ils devait être inséré devant la force de débarquement principale et se déplacer à une certaine distance à l'intérieur des terres pour effectuer une surveillance.
Pour augmenter l''autonomie du PT-76  des fûts de carburant supplémentaires ont été ajoutés au cours de divers efforts de modernisation tout au long de la seconde moitié des années 50. 
Au début, des fûts de carburant externes empruntés au T-34 étaient montés sur des supports sur la plage arrière du PT-76. Ces fûts de carburant ont chacun une capacité de 90 litres portant ainsi capacité totale de carburant du PT-76 à 430 litres, et son autonomie  480-510 km. 
Plus tard, les réservoirs de carburant externes rectangulaires plats montés sur les ailes du T-54 ont été montés aussi sur le PT-76 et le PT-76B. Ces réservoirs de carburant ont chacun une capacité de 95 litres et ont augmenté la capacité totale de carburant du PT-76B à 580 litres, augmentant ainsi l'autonomie à 590 km.


Sur l'eau, le PT-76 et le PT-76B ont une autonomie de carburant de 100 km et 120 km respectivement, bien que le char n'ait jamais la chance de parcourir de telles distances dans des situations réelles.
LUTTE CONTRE L'INCENDIE




 
 
 
 
 
 
 
 
 
 
 
 
 
 
 
 
 
Le système de lutte contre l'incendie "Rosa" a été installé sur le PT-76B. Le modèle de 1959 est un système relativement sophistiqué emprunté directement au T-55.
Le système peut fonctionner en mode semi-automatique ou automatique. Lorsqu'il fonctionne en mode semi-automatique, "Rosa" alerte le conducteur par un signal sonore et un feu clignotant dès qu'un incendie est détecté dans le compartiment moteur. Le conducteur a bien sûr la possibilité d'ignorer l'alerte, mais il est obligé de décharger immédiatement les extincteurs. Le conducteur peut activer manuellement les extincteurs câblés au système de lutte contre l'incendie automatique à partir d'un panneau de commande rouge à sa droite. Il y a également deux extincteurs à dioxyde de carbone à commande manuelle OU-2 supplémentaires rangés à côté du pied gauche du conducteur. Ces deux extincteurs seront le seul moyen d'éliminer un incendie dans le compartiment de combat.
 En mode « automatique  Rosa  alerte le conducteur de la source de l'incendie dès sa détection et ferme immédiatement les volets du radiateur, coupe le moteur et coupe le système d'admission d'air du moteur. Ensuite, les extincteurs sont activés et tout le compartiment est inondé d'agent extincteur. Deux bouteilles d'agent extincteur sont connectées au système, fournissant un maximum de deux doses d'agent extincteur pour inonder le compartiment moteur et, , éteindre la flamme. 
Ces deux extincteurs seront le seul moyen d'éliminer un incendie dans le compartiment de combat. En mode « automatique », « Rosa » alerte le conducteur de la source de l'incendie dès sa détection et ferme immédiatement les volets du radiateur, coupe le moteur et coupe le système d'admission d'air du moteur. Ensuite, les extincteurs sont activés et tout le compartiment est inondé d'agent extincteur. Deux bouteilles d'agent extincteur sont connectées au système, fournissant un maximum de deux doses d'agent extincteur pour inonder le compartiment moteur et, espérons-le, éteindre la flamme. Ces deux extincteurs seront le seul moyen d'éliminer un incendie dans le compartiment de combat.

"Rosa" utilise un agent extincteur halocarbure connu sous la désignation "3.5": une combinaison sous pression de bromure d'éthyle et de dioxyde de carbone. Le mélange est très efficace, mais aussi hautement toxique et cancérigène, limitant son utilisation au compartiment moteur. Le système s'appuie sur quatre capteurs de chaleur TD-1 pour détecter une augmentation locale de la température à au moins 180°C, après quoi le système réagira. Les quatre capteurs de chaleur TD-1 sont disposés de manière à ce qu'un incendie provenant de n'importe quelle partie du compartiment moteur soit détecté par au moins l'un des capteurs. Les zones couvertes comprennent le réservoir de carburant et le réservoir d'huile dans le sponson droit, la boîte de vitesses et les transmissions finales à l'arrière, le refroidisseur d'huile sur le pont et le moteur lui-même.

Le capteur de chaleur TD-1 utilise un réseau de quinze thermocouples câblés en série pour détecter les changements de température ambiante. Le temps de réaction du capteur ne dépasse pas 10 secondes, ce qui signifie qu'il faut au maximum 10 secondes entre la détection de l'incendie et l'activation du système d'extinction d'incendie.Bein que ces capteurs ne garantissent pas une détection fiable des incendies dans la plage de 60°C à 150°C  c'est bien mieux que les capteurs bimétalliques antérieurs utilisés dans les premiers systèmes de lutte contre les incendies développés pendant et immédiatement après la Seconde Guerre mondiale.e boîtier de commande du système est monté sur le "toit" du poste de conduite, qui est la plaque de glacis supérieure. Un interrupteur d'urgence pour couper le moteur est placé sur le toit à côté du gyrocompas GPK-48/59 du conducteur.
L
 
L'épisode Vietnamien 
L’US Army a combattu pour la première fois le PT-76  au  Vietnam lors d'une attaque surprise de la NVA en 1967 au camp des forces spéciales américaines à Lang Vei.
Bien que cette première attaque blindée ait été repoussée, une tentative similaire l'année suivante a réussi à envahir le camp.
Cependant on ne connait qu’un seul combat entre blindés au Vietnam entre les forces américaines et la NVA
Il a eu lieu en mars 1969, au camp des forces spéciales de Ben Het. Au cours de cet échange, huit PT-76 ont attaqué le camp défendu par cinq M48 Patton enterrés
 Les PT-76 ont été gravement endommagés et se sont retirés abandonnant deux PT 76 détruits.
Les deux photos ci-dessous montrent l'un des deux chars PT-76 détruits lors de la bataille. Celui-ci a clairement été touché de côté par l'un des obus HE de 90 mm susmentionnés tirés par les chars Patton en défense. L'obus est probablement entré par la droite et a explosé à l'intérieur du compartiment moteur, démolissant le toit de l'intérieur. Voici 
une autre photo du même char, avant ou après son chargement sur le camion plateau que l'on voit sur la photo de gauche.

 
Le deuxième PT-76 détruit dans la bataille est montré dans les deux photos ci-dessous. Presque tout à l'intérieur du réservoir est noirci par le feu, mais le manque de débris à l'intérieur de la carcasse elle-même montre que la plupart des équipements internes n'ont pas brûlé à cause d'un enfer, mais ont été expulsés du réservoir par une explosion de munitions ou quelque chose comme ça effet.L'état du deuxième char est clairement bien pire par rapport au premier même si les deux chars ont été detruits par les mêmes armes, mais il y a une très bonne explication à cela : « L'échange de tirs a continué brièvement , mais les tirs ennemis se sont graduellement Les véhicules de l'ANV se retiraient ; l'assaut au sol prévu n'allait pas avoir lieu. Les chars américains ont tiré plusieurs autres obus HE sur l'un des pontons ennemis, le réduisant à un tas de décombres, juste au moment où le 2e peloton de la compagnie B arrivait en relève. . "
Les véhicules dérivés de cette base  seront le véhicule blindé de transport de troupes BTR-50, le véhicule de combat d'infanterie BMP, le canon d'assaut aéroporté ASU-85 et quelques porte-missiles différents.
 Les armées qui ont utilisé le PT-76 sont l'Afghanistan, l'Angola, le Congo, Cuba, l'Égypte, la Finlande, la Guinée, l'Inde, l'Indonésie, l'Irak, le Laos, Madagascar, le Mozambique, la Corée du Nord, le Pakistan, le Vietnam et la Yougoslavie.

 
 
 
 
 
 
 
 
 



 
 
 
 
 
 


 
 
 
 
   


Copyright © 2003-2025 MaquetLand.com [Le Monde de la Maquette] et AMM- Tous droits réservés - Contactez l'Administrateur en cliquant ici

Ce site sans aucun but lucratif n’a pour but que de vous faire aimer l’ Histoire
Droit d’auteur
La plupart des photographies publiées sur ce site sont la propriété exclusive de © Claude Balmefrezol
Elles peuvent être reproduites pour une utilisation personnelle, mais l’autorisation préalable de leur auteur est nécessaire pour être exploitées dans un autre cadre (site web publications etc)
Les sources des autres documents et illustrations sont mentionnées quand elles sont connues. Si une de ces pièces est protégée et que sa présence dans ces pages pose problème, elle sera retirée sur simple demande.

Principaux Collaborateurs:

Gimeno Claude (+)
Brams Jean Marie
Janier Charles
Vincent Burgat
Jean Pierre Heymes
Marie Christophe (+)
Jouhaud Remi
Gris Patrice
Luc Druyer
Lopez Hubert
Giugliemi Daniele


Nb de visiteurs:8409534
Nb de visiteurs aujourd'hui:174
Nb de connectés:120


ohtogel ohtogel toto slot mineraltoto balaitoto balaitoto rctitogel bengbengtoto bengbengtoto sisi368 balaitoto balaitoto sisi368 sisi368 togel sgp bengbengtoto togel hk indosattoto indosattoto indosattoto indosattoto jualtoto jualtoto